Views: 0 Author: Site Editor Publish Time: 2026-01-08 Origin: Site
Yangzhou Xiyuan Electronic Technology Co.,Ltd.
#77 Yeqiao Road, Liandong U Valley slender West Lake Innovation port, building 10-2,Hanjiang District, Yangzhou,Jiangsu,China
Mobie Phone: +86 180-5105-8377
Tel: +86 514-82885589
Whatsapp:+86 182-6066-6867
Email: sale1@yzxyt.com
Fax: +86 514-82885089
Introduction to Fault Diagnosis (Part 2): How are Vibration Signals Collected? - Introduction to Sensors, Sampling, and Measurement Point Layout
Since we have already known that "vibration can reflect the health of equipment",
The next natural question is:
How are we going to "hear" this vibration?
When a machine is "shaking", what kind of signals is it emitting?
In today's episode, we'll delve into this seemingly mysterious yet highly intriguing matter:
How are vibration signals collected, recorded, and analyzed?
- Take you step by step into the world of vibration, from "jitter" to "data".
1.Vibration signal acquisition: The first step from "jitter" to "data"
In the world of machine operation, vibration is initially just a physical quantity:
It manifests as changes in displacement, velocity, or acceleration.
But these quantities are invisible to the human eye and incomprehensible to computers.
Therefore, the task of signal acquisition is to convert mechanical motion into electrical signals, and then into digital signals.
The entire process can be divided into three steps:
Name | Meaning | For example |
Step 1: Physical quantity | The true motion of an object (displacement, velocity, acceleration) | Fan vibration, bearing jitter |
Step 2: Analog quantity | Continuous voltage signal output by the sensor | Voltage waveform, continuous curve |
Step 3: Digital quantity | The acquisition device discretizes the electrical signal | A string of 0s and 1s, which can be recognized by computers |
In layman's terms:
The sensor is like a microphone, the acquisition device is like a recorder, and the computer is like a playback and analysis tool.
The "jitter" of the machine is thus "translated" into a data language that can be analyzed.
2. Vibration sensor: the "stethoscope" of machines
To "hear" vibrations, one must have good ears. These ears, in this case, are vibration sensors.
1)Piezoelectric acceleration sensor
In vibration measurement, piezoelectric acceleration sensors are the most commonly used.
Figure 1: Dual-oscillator high-temperature compression piezoelectric acceleration sensor

The working principle of piezoelectric accelerometer is based on the piezoelectric effect, with the core being a piezoelectric crystal known as "BGSPT piezoelectric ceramic".
The working process is divided into three steps:
a. Force action: When the sensor vibrates with the equipment, its internal inertial mass exerts a periodic force on the piezoelectric crystal due to inertia.
b.Charge generation: Piezoelectric crystals undergo deformation due to external forces, generating charges on their surface that are proportional to the applied force.
c. Signal output: The charge is collected through the electrode and converted into a voltage signal for output, thereby transforming mechanical vibration into a measurable electrical signal.
In simple terms, this is a conversion process from mechanical energy (vibration) to electric charge, and then to electrical energy (voltage signal).
That is to say:
The greater the vibration → the greater the acceleration → the stronger the voltage signal.
Figure 2: Physical image of piezoelectric accelerometer

This sensor has many advantages:
Small size, wide frequency response;
Strong anti-interference capability;
Suitable for monitoring medium-to-high speed rotating equipment such as motors, fans, and compressors.
2)Key performance parameters of sensors
Parameter | Meaning | Impact on measurement |
Sensitivity | What is the voltage output per unit of acceleration (e.g., 100 mV/g) | The higher the sensitivity, the weaker vibrations can be detected, but the upper limit of high frequencies will be reduced |
Range | Maximum measurable acceleration range | Signal distortion beyond the measurement range |
Frequency response range | The frequency range that can be accurately measured | Out-of-range signal attenuation or distortion |
Precision | Measure the magnitude of the error | The higher the accuracy, the more reliable the diagnosis |
3)Sensor installation method and applicable frequency
The installation method of the sensor determines how real and clear the vibrations it can "hear" are.
Loose installation, uneven surface, or poor contact can all lead to signal attenuation, phase distortion, or even complete loss.
Simply put:
The stronger the installation, the more authentic the signal; the weaker the installation, the more fake the signal.
Different installation methods are suitable for different scenarios and frequency ranges:
Installation method | Feature | Frequency range | Typical Applications |
bolt fixing | The rigidity is optimal, and the signal is the most stable | >10 kHz | Laboratory testing, long-term monitoring |
adhesive fixation | No drilling required, thin adhesive layer with high frequency response | 5–10 kHz | Long-term installation on site |
Bonding block installation | Removable, with good rigidity | 5–10 kHz | In situations where equipment maintenance is frequent |
Magnetic Base | Easy to disassemble and assemble, but poor rigidity | ≤2 kHz | Inspection, low-frequency measurement points |
Track magnetic base | Installing to conform to the curved surface | ≤3–4 kHz | Temporary inspection, bearing seat |
Probe contact | Handheld, with poor repeatability | ≤1 kHz | Temporary detection, trend judgment |
The frequency response of the sensor is significantly influenced by different installation methods:
Rigid installation (such as bolts, thin layer adhesive bonding) can maintain the nominal frequency response range of the sensor;
Soft mounting (such as thick adhesive layer, magnetic attraction) can weaken high-frequency signals and even cause phase lag.
You can understand it as:
When signals are "transmitted" between sensors and devices, if the contact is too loose, it's like listening to sound through cotton - all high-frequency details are "eaten up".
Therefore, during on-site installation, it is recommended to:
1. Ensure that the contact surface is clean, flat, and free of oil stains;
2. The adhesive layer should be as thin as possible (ideally less than 0.1 mm);
3. When installing the magnetic base, avoid strong vibration, high temperature, or oily environments;
4. The measurement direction is consistent with the main vibration direction.
Summary:
Bolts are the strongest, glue is the most practical, and magnetic bases are the most flexible.
As long as there is "sufficient rigidity and good contact", the signal will be reliable.
4)From sensor to system: A "family portrait" of vibration acquisition
A complete acquisition system typically consists of four parts:
a. Sensor - responsible for converting mechanical vibration into electrical signals;
b. Signal conditioning unit - amplification, filtering, and DC blocking;
c. Data acquisition device (DAQ) - digitizes analog signals;
d. Host computer software - responsible for display, analysis, and storage.
The collaborative relationship between them clearly forms the following link:
Figure 3: Flowchart of equipment vibration monitoring and analysis

3.Signal Sampling: Converting Analog Signals into Digital Data
Once the sensor converts the vibration into an electrical signal, the next step is "sampling".
Signal sampling is the process of taking "snapshots" of continuously changing analog signals at fixed time intervals (sampling period T) to obtain a series of discrete data points.
As shown in the figure below, this process converts a smooth continuous signal f(t) into a series of discrete sample points f_s(t).
Figure 4: Schematic diagram of signal sampling: from continuous signal to discrete samples

The pace of this sampling process, which determines how quickly or slowly it occurs, is commonly referred to as the sampling frequency (fs), which is the reciprocal of the sampling period (T): fs = 1/T. The sampling frequency determines how many "snapshots" are taken per second. The higher the frequency, the better the reconstruction of the original signal, but the larger the data volume.
1)Sampling theorem
So, how fast does the sampling frequency need to be to ensure no loss of signal information and accurate reconstruction? This leads to the golden rule of signal sampling - the Nyquist theorem.
The theorem theoretically states that the sampling frequency must be greater than twice the highest frequency component in the signal. If the sampling frequency is too low, it will lead to aliasing, where high-frequency signals are mistakenly recorded as low-frequency signals, resulting in distortion.
In engineering vibration diagnosis, to ensure the accuracy of frequency spectrum analysis, we typically employ an empirical coefficient to elevate the standard further:
Sampling frequency = Analysis frequency × 2.56
For example, if we need to analyze frequency components up to 1 kHz, it is a more ideal and common practice to set the sampling frequency to be above 2.56 kHz.
2)Relationship between sampling parameters and spectral analysis
The empirical coefficient of 2.56 is not derived from thin air; it directly determines the effectiveness of spectral analysis. To achieve precise spectral analysis, we need to understand several key "control factors":
Parameter | Definition | Impact on spectrum analysis |
Sampling frequency (fₛ) | Number of samples collected per second | It determines the highest frequency that can be analyzed without distortion (analysis frequency = fₛ / 2.56) |
Number of sampling points (N) | The total amount of data collected in one go | The more points, the higher the frequency resolution, and the finer the spectrum |
Frequency resolution (Δf) | The smallest distinguishable frequency difference | Δf = sampling frequency (fₛ) / number of sampling points (N), the smaller this value, the better |
Number of spectral lines | Number of analysis points in the spectrum | It equals to N/2.56. The higher the value, the smoother the spectrogram and the richer the details |
These parameters collectively constitute a balanced system: under the premise of fixed analysis frequency, increasing the number of sampling points can achieve higher frequency resolution, enabling clearer differentiation of closely spaced fault frequencies, but it also increases the data volume and computational burden.
3)Common sampling settings for different devices
Having understood the theory, how can it be applied to practice? For different types of equipment, due to the differences in their fault feature frequencies, the sampling settings also have their respective focuses:
Device Type | Frequency analysis | Sampling frequency |
High-speed motor / turbine | 0–10 kHz | 25.6 kHz |
Pump/Fan | 0–5 kHz | 12.8 kHz |
Low-speed equipment (such as large conveyor belts) | 0–1 kHz | 2.56 kHz |
Bearing failure analysis | 1–20 kHz | 51.2 kHz |
Core principle: The higher the equipment rotational speed or the more acute the fault impact (such as in bearings and gears), the richer the high-frequency components generated, and the higher the required sampling frequency.
Through such targeted settings, we can ensure that the collected data can fully "capture" key fault information, laying a solid foundation for subsequent precise diagnosis.
4.Signal conditioning: Making data "cleaner"
Even the best sensors can pick up some noise.
Therefore, before the signal enters the analysis stage, it must undergo "signal conditioning".
1)Analog signal conditioning process
Figure 5: Signal conditioning process

a. DC isolation: Remove the DC bias and only retain the AC vibration component;
b. Amplification: Amplify the weak signal to a range suitable for sampling;
c. Filtering: removing electromagnetic interference or unwanted frequency bands;
d. A/D conversion: converting an analog signal into a digital signal.
2)Digital signal reconstruction
The digital signal obtained through sampling is actually a series of discrete points.
To reproduce waveforms or perform time-domain analysis, signal reconstruction is necessary.
If the sampling frequency is too low or the filtering is not reasonable, the reconstructed waveform will be distorted, just like the noise in low-bit-rate audio.
5. Measurement Point Layout: Accurate Data Collection and Clear Diagnosis
With sensors and acquisition systems in place, if the measurement points are not properly selected, even if the equipment is "shouting itself hoarse", we won't be able to identify any issues with it.
The layout of measurement points determines where the "ear" should be placed on the device to capture the most authentic and useful sound.
1)Why is the location of measurement points important?
During the operation of the equipment, vibration propagates outward along the structure from the fault source,
In the process of propagation, it will be influenced by factors such as structural rigidity, connection method, and mass distribution.
This means that the strength, phase, and even frequency components of the signals collected at different locations will vary.
For example:
Near the fault source, the signal is usually strong and clear;
At locations along the propagation path, the signal may be attenuated or undergo resonant amplification;
In places too far away, the signal will be absorbed by structures or mixed with other interference.
Therefore, the core objective of the layout of measurement points is:
Find a location that can truly reflect the vibration of the fault source without being interfered by structural resonance.
To illustrate, we can use an analogy:
When a doctor conducts a physical examination for a patient, they will not casually place the stethoscope,
Instead, based on human anatomy, optimal auscultatory points such as the apical region and the lower lobe of the lung are selected;
Similarly, when arranging vibration measurement points, engineers should also base their decisions on the structure of the equipment and the vibration propagation path,
Choose the location where the key abnormalities can be most "heard".
In summary:
Only when the measurement points are accurately selected can the data be valuable;
If the measurement point is chosen improperly, the seemingly busy waveform may not be related to the actual fault.
2)Thoughts on measuring point layout for common equipment
Different equipment structures require different layouts of measurement points. However, in practical engineering, the number, location, and type of sensors need to be comprehensively considered based on monitoring objectives, equipment value, installation conditions, and budget costs.
Below are some typical examples:
(1) Motor
Measuring point location: Outside of the front and rear bearing seats (in both horizontal and vertical directions).
Reason: Vibration often originates from rotor imbalance, bearing wear, stator eccentricity, etc., with the bearing pedestal signal being the most direct.
Supplementary: If electromagnetic vibration or foundation loosening needs to be monitored, points can be arranged at the bottom of the base or on the end cover.
Figure 6: Vibration measuring point locations of motors with end-shield bearings

(2) Pump
Measuring point locations: bearing blocks at the pump end and motor end, one each for horizontal and vertical measurements.
Reason: Cavitation, impeller imbalance, and coupling issues will all manifest on the pump end bearing.
Note: For vertical pumps or pipeline pumps, it is also necessary to pay attention to the impact of pipeline resonance.
Figure 7: Vibration Measurement Point Locations of Horizontal Pump

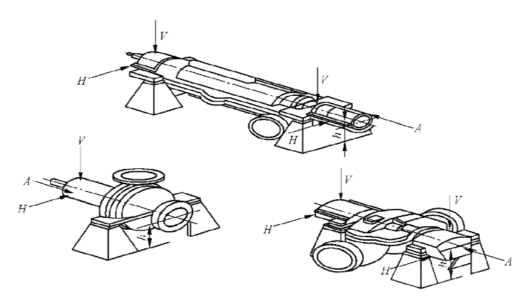
(3) Fan / Compressor
Measuring point location: bearing seat and casing near the impeller.
Reason: These positions can capture blade imbalance, surge, and bearing issues.
Suggestion: For large wind turbines, it is recommended to install axial measuring points for thrust bearing monitoring.
Figure 8: Vibration measuring point locations of the fan (with the impeller directly mounted on the motor shaft)

(4)Gearbox
Measuring points: Input and output bearing housings, as well as the housing near the gear meshing surface.
Reason: Gear fault signals are often generated at the meshing point, and impact signals can be captured at measuring points close to the meshing area.
Supplementary: High-frequency acceleration signals can be utilized for early detection of tooth surface spalling.
Figure 9: Vibration measuring points B1, B2, and B3 of the gearbox of the wind turbine generator system

3)Selection of measurement point direction
Vibration is a vector, and the components in different directions reflect different types of faults.
Direction | Meaning | Main monitoring content |
Level | Parallel to the ground | Unbalanced rotor, eccentric coupling |
Vertical | Vertical to the ground | Loose foundation, resonance problem |
Axial | Along the axis of rotation | Axial play, abnormal thrust bearing |
Generally speaking, at least two measuring points (horizontal + vertical) are arranged at each bearing position,
If conditions permit, adding axial measurement points can significantly enhance diagnostic accuracy.
4)Tips for setting up observation points
To achieve accurate measurement and clear diagnosis, the following points can be taken into consideration during the arrangement of points:
Near the vibration source: Try to choose rigid parts such as bearing housings and casings;
Keep away from interference sources: avoid cable bundles, strong magnetic fields, high temperatures, or oil-contaminated areas;
Maintain consistency: The placement of similar equipment should be uniform to facilitate trend comparison;
Clear identification: The numbering of measurement points and the marking of directions should be accurate to facilitate subsequent analysis.
5)Visual comprehension: auscultation + imaging combination
The layout of vibration measurement points can be understood as a combination of auscultation and radiography in "equipment physical examination":
Auscultation (sensor measuring point): Listen to local vibration changes to locate the problem source;
Filming (overall distribution): Observe the overall trend and establish health records.
Accurate listening is experience;
If it's well-arranged, it's science.
A reasonable layout of measuring points is half the success of vibration diagnosis.
Summary:
The layout of measuring points seems to be just "placing a sensor",
In fact, it determines the signal quality and analytical foundation of the entire vibration diagnosis.
A scientific and reasonable layout of measurement points,
It allows you to clearly hear the true "heartbeat" of the equipment;
And for data with incorrect sampling points, even the most precise analysis cannot be salvaged.
To diagnose accurately, first place the "ear" in the right position.
6.Conclusion
Vibration signal acquisition is like "measurement preparation" before conducting a physical examination for a machine.
Only when the data is collected accurately and stably can the subsequent analysis be meaningful.
From physical quantities to digital signals, every step-
Sensor selection, installation, sampling, conditioning, layout -
All of these are laying the foundation for subsequent diagnosis.
Collection is the foundation, and analysis is the core.
Without clean data, there can be no accurate conclusions.